IPB

Здравствуйте, гость ( Вход | Регистрация )

 
Ответить в эту темуОткрыть новую тему
> Блок питания МС9005, ремонт
SuperMax
сообщение 26.12.2015, 9:23
Сообщение #1


Администратор
*****

Группа: Root Admin
Сообщений: 6 351
Регистрация: 7.1.2006
Из: Красноярск
Пользователь №: 1



Блок питания МС9005 попал ко мне вот в таком состоянии
Прикрепленное изображение
5В есть, вместо 12 - 4.5В

Изучение схемы
Прикрепленный файл  shematic_0585_MC9005.pdf ( 232.75 килобайт ) Кол-во скачиваний: 93024

Прикрепленное изображение
показало, что данный БП это криволапая копия или еще более кривая разработка.
Почему криволапая ? есть несколько явных дефектов проектирования.

Впрочем начнем с описания принципов работы данного БП
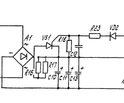
1. цепь уменьшения зарядного тока конденсаторов питания построена на тиристоре VS1
Прикрепленное изображение
тиристор включается после запуска БП. Идея не самая хорошая но работает.

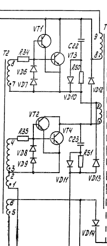
2. Сам преобразователь - прямоходовый.
прямой ход построен на последовательно включенных КТ840А
Прикрепленное изображение
обратный ход возвращает энергию в цепь питания через диоды VD12 VD13
управление сделано через трансформатор T2
что примечательно, разработчики сообразили как увеличить ток управления, включив доп обмотку в эмиттерную цепь. управляющий ШИМ сигнал формируется микросхемой D8 - КМ1114ЕУ1
Прикрепленное изображение
и через через выходную цепь на КТ805 подается на трансформатор T2

сразу бросаются в глаза включенные параллель КТ840А (400В 6А)
по идее вполне достаточно поставить по одному, но видимо БП горел из-за плохого спада в управляющей цепи и вместо исправления причины, разработчики тупо воткнули по два транзистора, причем не разделив базовые цепи персональными резисторами. (что явно неправильно в данном случае)
по идее T2 должен питаться от пушпульного каскада аналогично VT15 VT16 - тогда бы спад был более крутым и риск выхода из строя КТ840А был бы минимальным

2. Как мы видим +5 стабилизируется явно и является основным для работы БП, согласно паспорта минимальная рабочая нагрузка по каналу +5В составляет 4А

следует обратить внимание на технологию построения цепи получения +5В
Прикрепленное изображение
а именно на цепь VD23 VD24 L2 - это пассивный DC-DC step-down
те с обмотки Т4 идет около 20-30В которые преобразуются в +5 при помощи обозначенной выше цепи.
сделано это не для усложнения схемы, а из-за проблем с элементной базой в СССР - те у разработчиков просто не было доступных диодов шоттки на необходимый ток. Соответственно пришлось идти на ухищрения.

3. выпрямительная цепь стабилизатора +12 построена с ключевым транзистором VT7 КТ847А (650В 15А)
Прикрепленное изображение
я думаю сразу возникнет вопрос - а с чего вдруг тут потребовался 650В транзистор ? хотя явно КТ827 хватит за глаза!? по всей видимости из-за вылетов БП транзистор тупо поменяли на более крутой!
и так рассмотрим стабилизатор
он построен на операционники КР544УД1А в режиме компаратора и генераторе на интегральном таймере 555 - КР1006ВИ1
компаратор управляет режимом и как следствие работой ШИМа
на выходе таймера опять КТ805 который через трансформатор T6 управляет КТ827м (VT7)

да, причина вылетов опять в цепи управления, которая слишком медленно закрывается, что вызывает тепловой пробой ключевого VT7.
Синхронизация ШИМ-ов построена на диоде VD45. (хотя можно было подать ее сразу на таймер, но видимо разработчику это было сложно сделать)

В моем случае VT7 был целый, а вот таймер и операционник пришлось поменять. Также под замену попали почти все электролиты и вентилятор, который тоже оказался дохлым
Вентилятор я поставил 12В 0.6А - выбрал наиболее производительный среди 5-7Вт вентиляторов. по ощущениям он будет дуть сильнее чем штатный.




--------------------
Живы будем - Не помрем !
Пользователь в офлайнеКарточка пользователяОтправить личное сообщение
Вернуться в начало страницы
+Ответить с цитированием данного сообщения
SuperMax
сообщение 26.12.2015, 10:36
Сообщение #2


Администратор
*****

Группа: Root Admin
Сообщений: 6 351
Регистрация: 7.1.2006
Из: Красноярск
Пользователь №: 1



4. Защита от перенапряжения построена на тиристоре VS2
который открывается на от сигналов перенапряжения по линиям +12В +5В -12В
Прикрепленное изображение

технологически VS2 коротит не только выходную цепь +12 но и цепь прохода управляющего сигнала - через VD14 - те получается что ток через трансформатор Т2 течет постоянно и управляющие импульсы не поступают.
данное решение обладает рядом недостатков
- транзисторы закроются с пологим спадом
- последний импульс уйдет в цепи питания
- повышенная нагрузка на цепь питания
Прикрепленное изображение
может привезти к перегреву Т1
те в режиме сработавшей защиты БП надо выключить сразу.

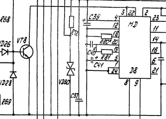
5. схема токовой защиты построена на T5 и R71 в качестве элементов измерения тока
далее все идет на операционники и выходит в итоговый запрет генерации импульсов управления - VT8-D8
Прикрепленное изображение


6. Доработки.
единственная разумная доработка это замена электролитов на lowESR и замена вентилятора на более производительный и менее шумный. Конечно есть желание добраться до выходных цепей управления (основной дефект проектирования) но тк БП работает то пусть работает. разработчики все равно на пенсии и никакие доработки тут никому не интересны.



--------------------
Живы будем - Не помрем !
Пользователь в офлайнеКарточка пользователяОтправить личное сообщение
Вернуться в начало страницы
+Ответить с цитированием данного сообщения
SuperMax
сообщение 28.12.2015, 16:08
Сообщение #3


Администратор
*****

Группа: Root Admin
Сообщений: 6 351
Регистрация: 7.1.2006
Из: Красноярск
Пользователь №: 1



Итоговый фотоотчет
Прикрепленное изображение
Прикрепленное изображение
Прикрепленное изображение
Прикрепленное изображение
Прикрепленное изображение
Прикрепленное изображение
Прикрепленное изображение
Прикрепленное изображение


--------------------
Живы будем - Не помрем !
Пользователь в офлайнеКарточка пользователяОтправить личное сообщение
Вернуться в начало страницы
+Ответить с цитированием данного сообщения

Ответить в эту темуОткрыть новую тему
1 чел. читают эту тему (гостей: 1, скрытых пользователей: 0)
Пользователей: 0

 



Текстовая версия Сейчас: 28.12.2025, 10:06