Помощь - Поиск - Пользователи - Календарь
Полная версия: Блок питания МС9005
MAXIOL > Техника > DEC hardware / software > Dec Professional / Электроника 85
SuperMax
Блок питания МС9005 попал ко мне вот в таком состоянии
Нажмите для просмотра прикрепленного файла
5В есть, вместо 12 - 4.5В

Изучение схемы
Нажмите для просмотра прикрепленного файла
Нажмите для просмотра прикрепленного файла
показало, что данный БП это криволапая копия или еще более кривая разработка.
Почему криволапая ? есть несколько явных дефектов проектирования.

Впрочем начнем с описания принципов работы данного БП
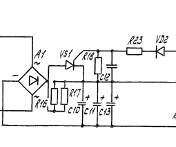
1. цепь уменьшения зарядного тока конденсаторов питания построена на тиристоре VS1
Нажмите для просмотра прикрепленного файла
тиристор включается после запуска БП. Идея не самая хорошая но работает.

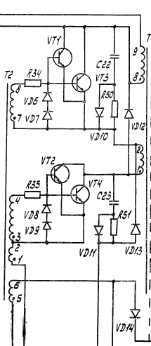
2. Сам преобразователь - прямоходовый.
прямой ход построен на последовательно включенных КТ840А
Нажмите для просмотра прикрепленного файла
обратный ход возвращает энергию в цепь питания через диоды VD12 VD13
управление сделано через трансформатор T2
что примечательно, разработчики сообразили как увеличить ток управления, включив доп обмотку в эмиттерную цепь. управляющий ШИМ сигнал формируется микросхемой D8 - КМ1114ЕУ1
Нажмите для просмотра прикрепленного файла
и через через выходную цепь на КТ805 подается на трансформатор T2

сразу бросаются в глаза включенные параллель КТ840А (400В 6А)
по идее вполне достаточно поставить по одному, но видимо БП горел из-за плохого спада в управляющей цепи и вместо исправления причины, разработчики тупо воткнули по два транзистора, причем не разделив базовые цепи персональными резисторами. (что явно неправильно в данном случае)
по идее T2 должен питаться от пушпульного каскада аналогично VT15 VT16 - тогда бы спад был более крутым и риск выхода из строя КТ840А был бы минимальным

2. Как мы видим +5 стабилизируется явно и является основным для работы БП, согласно паспорта минимальная рабочая нагрузка по каналу +5В составляет 4А

следует обратить внимание на технологию построения цепи получения +5В
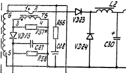
Нажмите для просмотра прикрепленного файла
а именно на цепь VD23 VD24 L2 - это пассивный DC-DC step-down
те с обмотки Т4 идет около 20-30В которые преобразуются в +5 при помощи обозначенной выше цепи.
сделано это не для усложнения схемы, а из-за проблем с элементной базой в СССР - те у разработчиков просто не было доступных диодов шоттки на необходимый ток. Соответственно пришлось идти на ухищрения.

3. выпрямительная цепь стабилизатора +12 построена с ключевым транзистором VT7 КТ847А (650В 15А)
Нажмите для просмотра прикрепленного файла
я думаю сразу возникнет вопрос - а с чего вдруг тут потребовался 650В транзистор ? хотя явно КТ827 хватит за глаза!? по всей видимости из-за вылетов БП транзистор тупо поменяли на более крутой!
и так рассмотрим стабилизатор
он построен на операционники КР544УД1А в режиме компаратора и генераторе на интегральном таймере 555 - КР1006ВИ1
компаратор управляет режимом и как следствие работой ШИМа
на выходе таймера опять КТ805 который через трансформатор T6 управляет КТ827м (VT7)

да, причина вылетов опять в цепи управления, которая слишком медленно закрывается, что вызывает тепловой пробой ключевого VT7.
Синхронизация ШИМ-ов построена на диоде VD45. (хотя можно было подать ее сразу на таймер, но видимо разработчику это было сложно сделать)

В моем случае VT7 был целый, а вот таймер и операционник пришлось поменять. Также под замену попали почти все электролиты и вентилятор, который тоже оказался дохлым
Вентилятор я поставил 12В 0.6А - выбрал наиболее производительный среди 5-7Вт вентиляторов. по ощущениям он будет дуть сильнее чем штатный.


SuperMax
4. Защита от перенапряжения построена на тиристоре VS2
который открывается на от сигналов перенапряжения по линиям +12В +5В -12В
Нажмите для просмотра прикрепленного файла

технологически VS2 коротит не только выходную цепь +12 но и цепь прохода управляющего сигнала - через VD14 - те получается что ток через трансформатор Т2 течет постоянно и управляющие импульсы не поступают.
данное решение обладает рядом недостатков
- транзисторы закроются с пологим спадом
- последний импульс уйдет в цепи питания
- повышенная нагрузка на цепь питания
Нажмите для просмотра прикрепленного файла
может привезти к перегреву Т1
те в режиме сработавшей защиты БП надо выключить сразу.

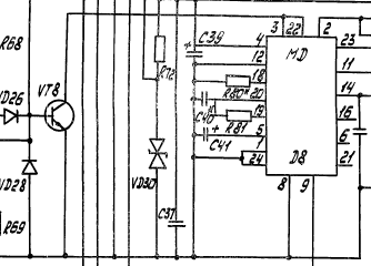
5. схема токовой защиты построена на T5 и R71 в качестве элементов измерения тока
далее все идет на операционники и выходит в итоговый запрет генерации импульсов управления - VT8-D8
Нажмите для просмотра прикрепленного файла


6. Доработки.
единственная разумная доработка это замена электролитов на lowESR и замена вентилятора на более производительный и менее шумный. Конечно есть желание добраться до выходных цепей управления (основной дефект проектирования) но тк БП работает то пусть работает. разработчики все равно на пенсии и никакие доработки тут никому не интересны.

Это текстовая версия — только основной контент. Для просмотра полной версии этой страницы, пожалуйста, нажмите сюда.
Русская версия Invision Power Board © 2001-2026 Invision Power Services, Inc.